松下公布APS-C无反镜头专利

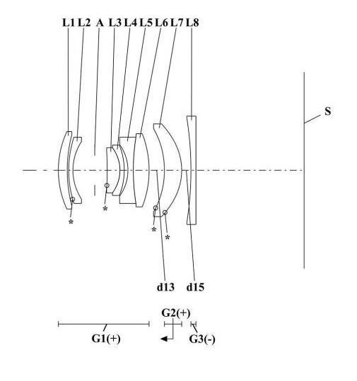
  根据最新的消息称,松下申请了一个新的APS-C画幅镜头专利,型号为18mm F4,莫非松下有计划开发一款L卡口的APS-C无反相机?但松下研发APS-C无反镜头的确是事实,以下是专利信息:

  专利号:JP 2019-15827(P2019-15827A)

  发布日期:2019年1月31日(2019.1.31)  

  焦距:18.0157毫米

  F值:4.10720  

  半视角:38.5407

  图像高度:13.2000 mm

  镜片长度:34.5079毫米

  后焦距:15.18901毫米

客户评论:
  • 暂无评论
发表评论: